GV90 출시 지연 속 현대차그룹, 도어 강성 특허로 해결책 모색
제네시스 GV90의 센터 오픈 코치 도어가 기술적 문제로 출시를 지연시키고 있다는 보도가 나온 가운데, 현대차그룹이 해결책을 담은 특허를 공개했다.
큰 문은 만들기 어렵다
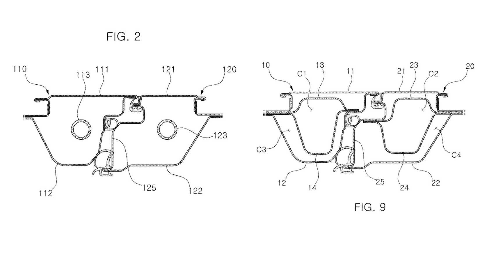
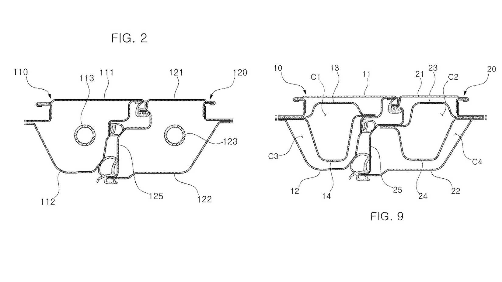
현대차그룹은 2026년 4월 중순 '강성이 향상된 차량 도어 어셈블리'라는 명칭의 특허를 공개했다. 코치 도어(센터 힌지 도어)는 중앙 B필러 없이 전후 도어가 가운데서 맞닿는 구조인데, 이를 구현하기 어려운 이유가 있다. 현대 차량은 정숙성과 강성이 매우 높아 조금이라도 유격이 생기면 바로 느껴진다. 또한 측면 충돌 시 도어가 밀려 탑승자를 압박하거나 열리지 않아야 한다.
현대차그룹의 해결책은 도어 프레임 내부에 '프레임 속 프레임' 구조를 만드는 것이다. 기존에는 도어 프레임 내부 공간에 금속 튜브를 넣어 강성을 확보했지만, 코치 도어는 구조적 제약으로 이 방식이 불가능하다. 대신 전후 도어가 겹치는 부위에 추가 금속 패널로 내부 필러를 만들어 강성을 보완한다. 이 내부 프레임은 차체 하단의 사이드 실과 루프까지 연결돼 충돌 시 하중을 효과적으로 분산시킨다. 도어 강성이 높아지면 안전성은 물론, 럭셔리 브랜드에 필수적인 정숙성도 함께 향상된다.
GV90 출시는 하반기로 연기
제네시스는 2024년 네오룬 콘셉트를 통해 코치 도어를 처음 공개한 이후 도어 관련 특허를 지속적으로 출원해왔다. GV90은 당초 이달 출시 예정이었으나 하반기로 미뤄졌다. 운전자 보조 시스템 추가 조율 필요성과 함께 코치 도어 문제가 지연 요인으로 거론된 바 있다. 이번 특허가 실제 문제 해결로 이어졌는지는 수개월 안에 확인될 것이다.










































0/2000자